|
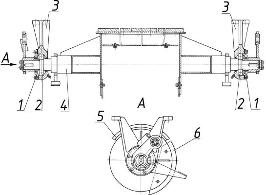
ДС-185 45.12.150 Затвор. |
|||||||
|
Поз. |
Обозначение |
Наименование |
Масса, 1шт., кг |
Габариты, мм (длина, ширина, высота) |
Кол-во на изделие |
Примечание |
|
|
ДС-185 |
ДС-158 |
||||||
|
1. |
ДС61 11.02.002 |
Крышка |
1,86 |
22ׯ165 |
2 |
2 |
|
|
2. |
ДС-185/461130155 |
Подшипник |
|
|
2 |
2 |
|
|
3. |
ДС61 11.02.006 |
Корпус подшипника |
10,5 |
350×330×100 |
2 |
2 |
|
|
4. |
ДС-185 45.12.120 |
Затвор |
87,4 |
|
1 |
- |
|
|
5. |
ДС-158 45.10.118 |
Лист броневой |
10,2 |
250×310×40 |
4 |
6 |
|
|
6. |
ДС-185 45.12.112 |
Сектор |
1,29 |
310×157 |
2 |
- |
|
|
|
ДС-158 45.10.119 |
Лист броневой |
|
|
- |
4 |
|

Замена системы управления на АБЗ Bennighoven MBA 2000
Год: 2023

Асфальтный завод в городе Енисейск
Осуществлена модернизация перевод на 5 фракций.
Установлен агрегат целлюлозной добавки.
Год 2023

Асфальтный завод ДС-185 в городе Ухта.
Полное обновление абз с его сборкой на новой площадке. Поднята производительность до 60т/ч в летний период и 40т/ч в осенне/ весенний период. Установлены - полностью новая башня, агрегат питания, горелка 6.2мвт, агрегат целлюлозной добавки, минерального порошка, адгезионная добавка
Год 2023.

Силами компании ВесПро проведена капитальная реконтрукция АБЗ в г. Саратов. Нами была произведены замены: сушильного агрегата целиком, агрегат питания, система пылеочистки, блока грохота на 6 фракций с бункером горячих материалов.
Год 2024.

Проведены работы по замене грохота, бункера горячих материалов и весов на 1000кг.
Завод переведен на работу с шестью фракциями.
Год: 2024

Замена системы управления на АБЗ УДМ-120
Год: 2023

Замена системы управления на АБЗ Marini TopTower 2000
Год: 2023

Замена системы управления на АБЗ ДС-185
Год: 2023