|
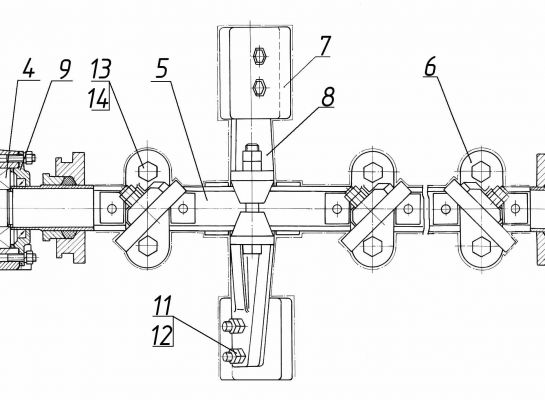
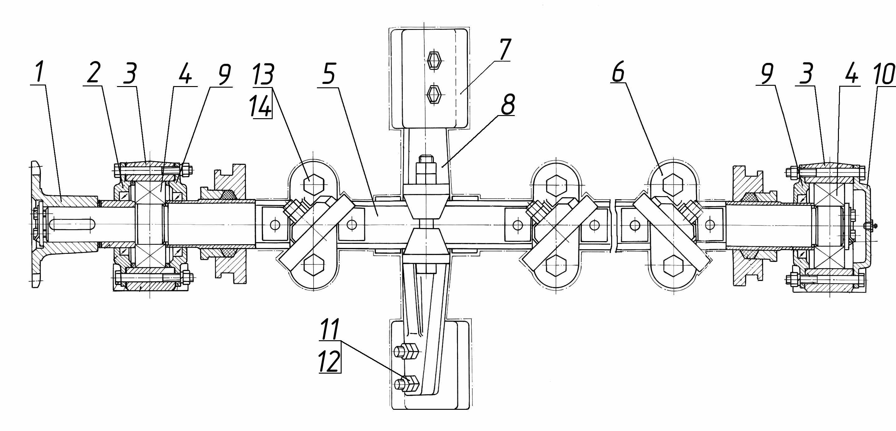
ДС-158 45.10.280 Вал правый. ДС-158 45.10.330 Вал левый. |
|||||||
|
Поз. |
Обозначение |
Наименование |
Масса, 1шт., кг |
Габариты, мм (длина, ширина, высота) |
Кол-во на изделие |
Примечание |
|
|
ДС-185 |
ДС-158 |
||||||
|
1. |
Д597 08.02.317 |
Полумуфта |
4,04 |
102ׯ188,1 |
1 |
1 |
|
|
2. |
Д597 08.02.311 |
Крышка проходная |
1,7 |
24ׯ185 |
1 |
1 |
|
|
3. |
Д225А 23.01-01 |
Корпус подшипника |
|
|
2 |
2 |
|
|
4. |
ДС-185/46200123 |
Подшипник |
|
|
2 |
2 |
|
|
5. |
ДС-158 45.10.300 |
Вал |
74,6 |
L=1846 |
1 |
1 |
|
|
6. |
ДС-158 45.10.281 |
Стойка правая |
5,2 |
258×180×70 |
2 |
2 |
|
|
7. |
ДС-158 45.10.282 |
Лопасть |
3,6 |
150×140×25 |
14 |
14 |
|
|
8. |
ДС-158 45.10.283 |
Стойка левая |
5,2 |
258×180×70 |
12 |
12 |
|
|
9. |
ДС25Б 03.10.024 |
Крышка проходная |
2 |
24ׯ185 |
2 |
2 |
|
|
10. |
Д597 08.02.312 |
Крышка непроходная |
1,33 |
24ׯ185 |
1 |
1 |
|
|
11. |
ДС-185/1381210745 |
Болт М16-8g×70 |
|
|
28 |
28 |
крепление лопастей |
|
12. |
ДС-185/138110191 |
Гайка М16 |
|
|
56 |
56 |
|
|
13. |
Д225 01.01-15 |
Болт крепления стоек |
0,47 |
175×34,6 |
28 |
28 |
крепление стоек |
|
14. |
ДС-185/1382110211 |
Гайка М20 |
|
|
56 |
56 |
|

Замена системы управления на АБЗ Bennighoven MBA 2000
Год: 2023

Асфальтный завод в городе Енисейск
Осуществлена модернизация перевод на 5 фракций.
Установлен агрегат целлюлозной добавки.
Год 2023

Асфальтный завод ДС-185 в городе Ухта.
Полное обновление абз с его сборкой на новой площадке. Поднята производительность до 60т/ч в летний период и 40т/ч в осенне/ весенний период. Установлены - полностью новая башня, агрегат питания, горелка 6.2мвт, агрегат целлюлозной добавки, минерального порошка, адгезионная добавка
Год 2023.

Силами компании ВесПро проведена капитальная реконтрукция АБЗ в г. Саратов. Нами была произведены замены: сушильного агрегата целиком, агрегат питания, система пылеочистки, блока грохота на 6 фракций с бункером горячих материалов.
Год 2024.

Проведены работы по замене грохота, бункера горячих материалов и весов на 1000кг.
Завод переведен на работу с шестью фракциями.
Год: 2024

Замена системы управления на АБЗ УДМ-120
Год: 2023

Замена системы управления на АБЗ Marini TopTower 2000
Год: 2023

Замена системы управления на АБЗ ДС-185
Год: 2023