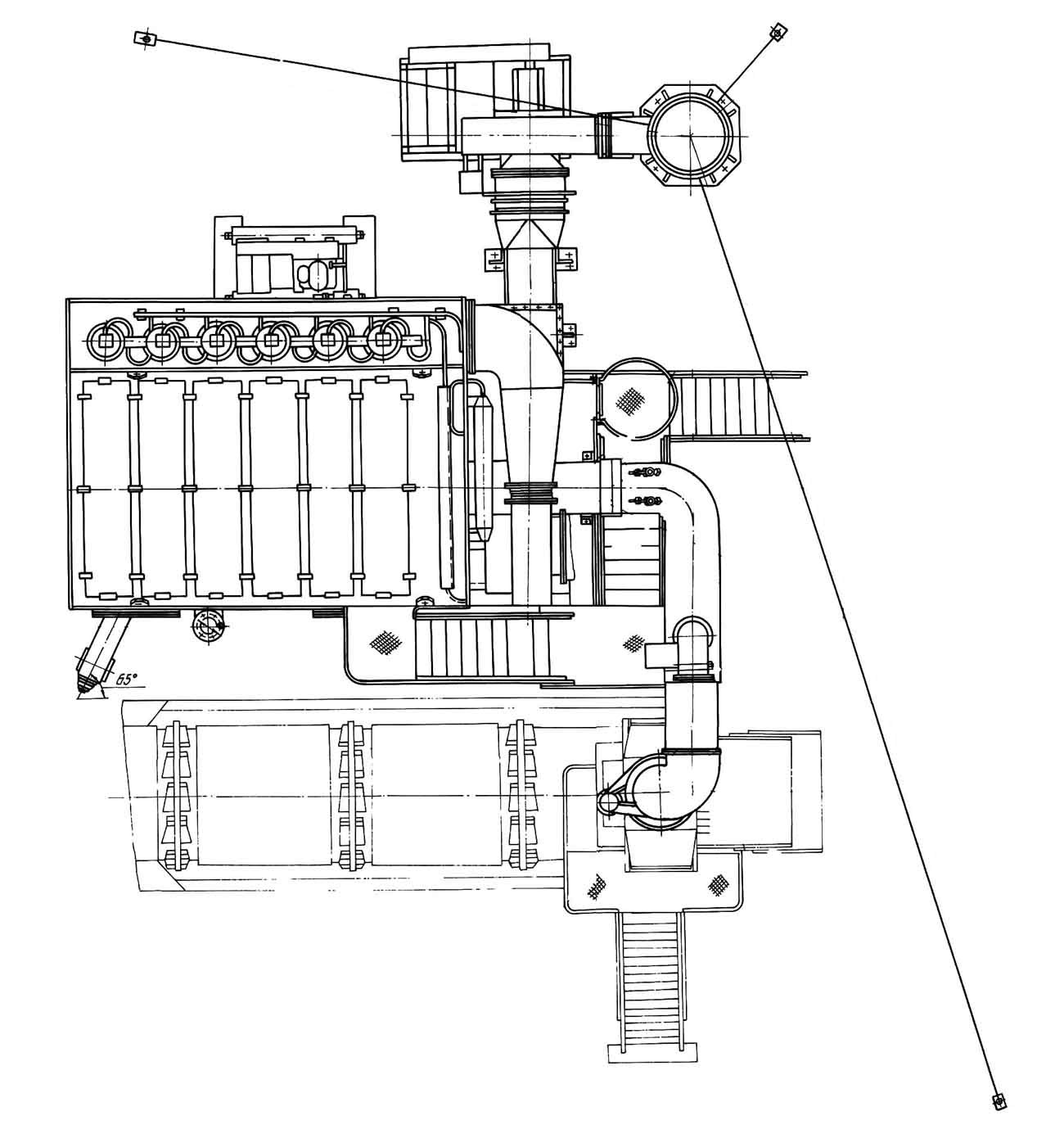
Техническая характеристика
Производительность по очищаемому
газу, м 3/ч, не более 16500
Предварительная ступень очистки:
- тип Прямоточный циклон
- эффективность пылеулавливания, % 40
Рукавный фильтр:
- площадь поверхности фильтрования, м2 245
- удельная газовая нагрузка, м3/м2 ·мин, 1,36
- количество секций, шт. 6
- фильтрующие элементы, количество рукавов, шт:
а) всего 120
в том числе, длиной 2560мм 72
2360мм 48
б) в одной секции 20
- тип материала рукавов Nomex NO/NO 501
- гидравлическое сопротивление, Па, не более 2500 (25)
- температура очищаемого газа, ºС, 180
- температура газов на выходе из фильтров, ºС, не менее 80
- номинальная концентрация пыли в очищаемом газе:
а) на входе в фильтр, г/нм 3 250
б) на выходе из фильтра, мг/нм 3 20
- способ регенерации Посекционно c принудительной
продувкой воздухом от вентилятора
Дымосос системы пылеочистки:
- номинальная производительность, м3/ч 15000 - 25000
- номинальный напор при температуре
дымовых газов 100 ºС, мм вод.ст. 600 - 620
- мощность двигателя привода, кВт 55
|
ДС-1857 48.00.000Ч Установка рукавного фильтра. ДС-18567 48.00.000Ч Установка рукавного фильтра. |
|||||||
|
Поз. |
Обозначение |
Наименование |
Масса, 1шт., кг |
Габариты, мм (длина, ширина, высота) |
Кол-во на изделие |
Примечание |
|
|
ДС-185 |
ДС-158 |
||||||
|
1. |
ДС-18567 48.06.000 |
Пылеуловитель |
217 |
1304ר1257×761 |
1 |
- |
|
|
2. |
ДС-1857 48.00.010 |
Газоход |
67 |
900×650×650 |
1 |
- |
Для работы на жидком топливе |
|
|
ДС-18567 48.00.010 |
Газоход (со взрывными клапанами) |
129 |
900×620×620 |
1 |
- |
Для работы на природном газе |
|
3. |
ДС-1857 48.00.020 |
Газоход |
192 |
2230×1248×548 |
1 |
- |
Для работы на жидком топливе |
|
|
ДС-18567 48.00.090 |
Газоход |
237 |
2780×2050×620 |
1 |
- |
Для работы на природном газе |
|
4. |
ДС-18567 48.00.360 |
Установка преобразователя |
7 |
|
1 |
- |
|
|
|
|
входит: |
|
|
|
|
|
|
|
ДС-185/421251116 |
Преобразователь измерительный |
|
|
|
|
|
|
5. |
ДС-18567 48.01.000 |
Установка дымососа |
1290 |
2585×1552×1610 |
1 |
- |
см. раскрытие |
|
6. |
ДС-18567 48.03.000 |
Шнек |
475 |
2774×1030×843 |
1 |
- |
см. раскрытие |
|
7. |
ДС-18567 49.00.000 |
Фильтр рукавный |
10280 |
7347×4641×8624 |
1 |
- |
см. раскрытие |
|
8. |
ДС-18567 48.00.140 |
Труба |
313 |
1350×1000×3300 |
1 |
- |
|
|
9. |
ДС-158 20.00.490 |
Труба |
387 |
6220ר793 |
1 |
- |
|
|
10. |
ДС-158 20.00.500 |
Труба |
377 |
6210ר793 |
1 |
- |
|
|
11. |
ДС-18567 48.00.070 |
Газоход |
187 |
1725×1570×910 |
1 |
- |
|
|
12. |
*КДМ20467 48.00.350 |
Клапан (взрывной) |
175 |
896×685×715 |
2 |
- |
|
|
13. |
ДС-18567 48.00.030 |
Газоход |
201 |
2610×620×620 |
1 |
- |
|

Замена системы управления на АБЗ Bennighoven MBA 2000
Год: 2023

Асфальтный завод в городе Енисейск
Осуществлена модернизация перевод на 5 фракций.
Установлен агрегат целлюлозной добавки.
Год 2023

Асфальтный завод ДС-185 в городе Ухта.
Полное обновление абз с его сборкой на новой площадке. Поднята производительность до 60т/ч в летний период и 40т/ч в осенне/ весенний период. Установлены - полностью новая башня, агрегат питания, горелка 6.2мвт, агрегат целлюлозной добавки, минерального порошка, адгезионная добавка
Год 2023.

Силами компании ВесПро проведена капитальная реконтрукция АБЗ в г. Саратов. Нами была произведены замены: сушильного агрегата целиком, агрегат питания, система пылеочистки, блока грохота на 6 фракций с бункером горячих материалов.
Год 2024.

Проведены работы по замене грохота, бункера горячих материалов и весов на 1000кг.
Завод переведен на работу с шестью фракциями.
Год: 2024

Замена системы управления на АБЗ УДМ-120
Год: 2023

Замена системы управления на АБЗ Marini TopTower 2000
Год: 2023

Замена системы управления на АБЗ ДС-185
Год: 2023