|
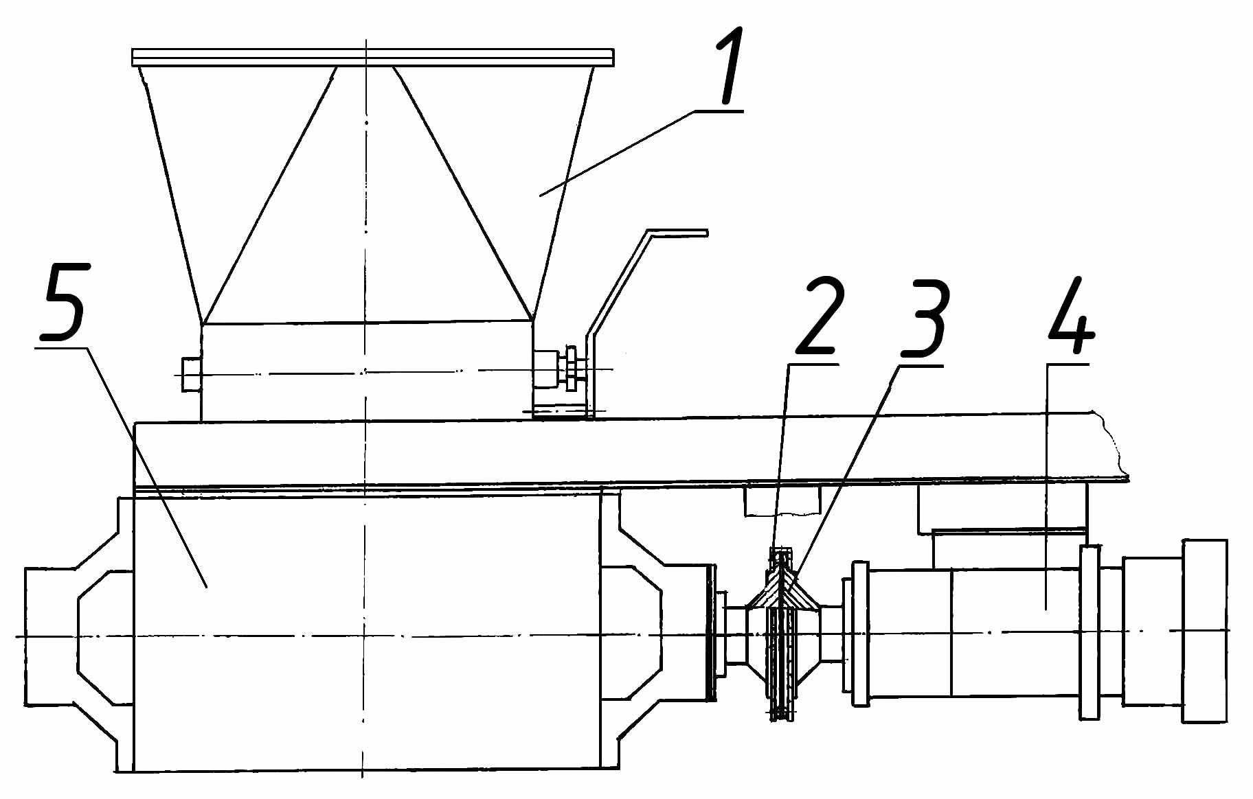
ДС-185 03.01.200 Установка питателя лопастного |
|||||||
|
Поз. |
Обозначение |
Наименование |
Масса, 1шт., кг |
Габариты, мм (длина, ширина, высота) |
Кол-во на изделие |
Примечание |
|
|
ДС-185 |
ДС-158 |
||||||
|
1. |
ДС-168 72.02.210 |
Воронка |
44 |
1077ר592×604 |
1 |
- |
|
|
2. |
ДС-158 50.05.080 |
Цепь |
1,3 |
508×2,4 |
1 |
1 |
t=25,4 |
|
3. |
ДС-168 72.02.302 |
Полумуфта |
2,4 |
Ø173,9×50 |
1 |
- |
|
|
4. |
ДС-185/417462054 |
Мотор-редуктор |
|
|
1 |
1 |
N=1,1 кВт |
|
5. |
ДС-158 04.02.010 |
Питатель лопастной |
130 |
855ר335 |
1 |
1 |
|
|
|
|
входит: |
|
|
|
|
|
|
|
ДС-158 04.01.014 |
Полумуфта |
1,9 |
Ø173,1×56 |
1 |
1 |
|
|
|
Д709 02.02.014 |
Крышка подшипника |
0,9 |
Ø150×32 |
1 |
1 |
сквозная |
|
|
Д709 02.02.019 |
Крышка подшипника |
1,2 |
Ø150×23 |
1 |
1 |
глухая |
|
|
ДС-185/461130121 |
Подшипник |
|
|
2 |
2 |
|

Замена системы управления на АБЗ Bennighoven MBA 2000
Год: 2023

Асфальтный завод в городе Енисейск
Осуществлена модернизация перевод на 5 фракций.
Установлен агрегат целлюлозной добавки.
Год 2023

Асфальтный завод ДС-185 в городе Ухта.
Полное обновление абз с его сборкой на новой площадке. Поднята производительность до 60т/ч в летний период и 40т/ч в осенне/ весенний период. Установлены - полностью новая башня, агрегат питания, горелка 6.2мвт, агрегат целлюлозной добавки, минерального порошка, адгезионная добавка
Год 2023.

Силами компании ВесПро проведена капитальная реконтрукция АБЗ в г. Саратов. Нами была произведены замены: сушильного агрегата целиком, агрегат питания, система пылеочистки, блока грохота на 6 фракций с бункером горячих материалов.
Год 2024.

Проведены работы по замене грохота, бункера горячих материалов и весов на 1000кг.
Завод переведен на работу с шестью фракциями.
Год: 2024

Замена системы управления на АБЗ УДМ-120
Год: 2023

Замена системы управления на АБЗ Marini TopTower 2000
Год: 2023

Замена системы управления на АБЗ ДС-185
Год: 2023