|
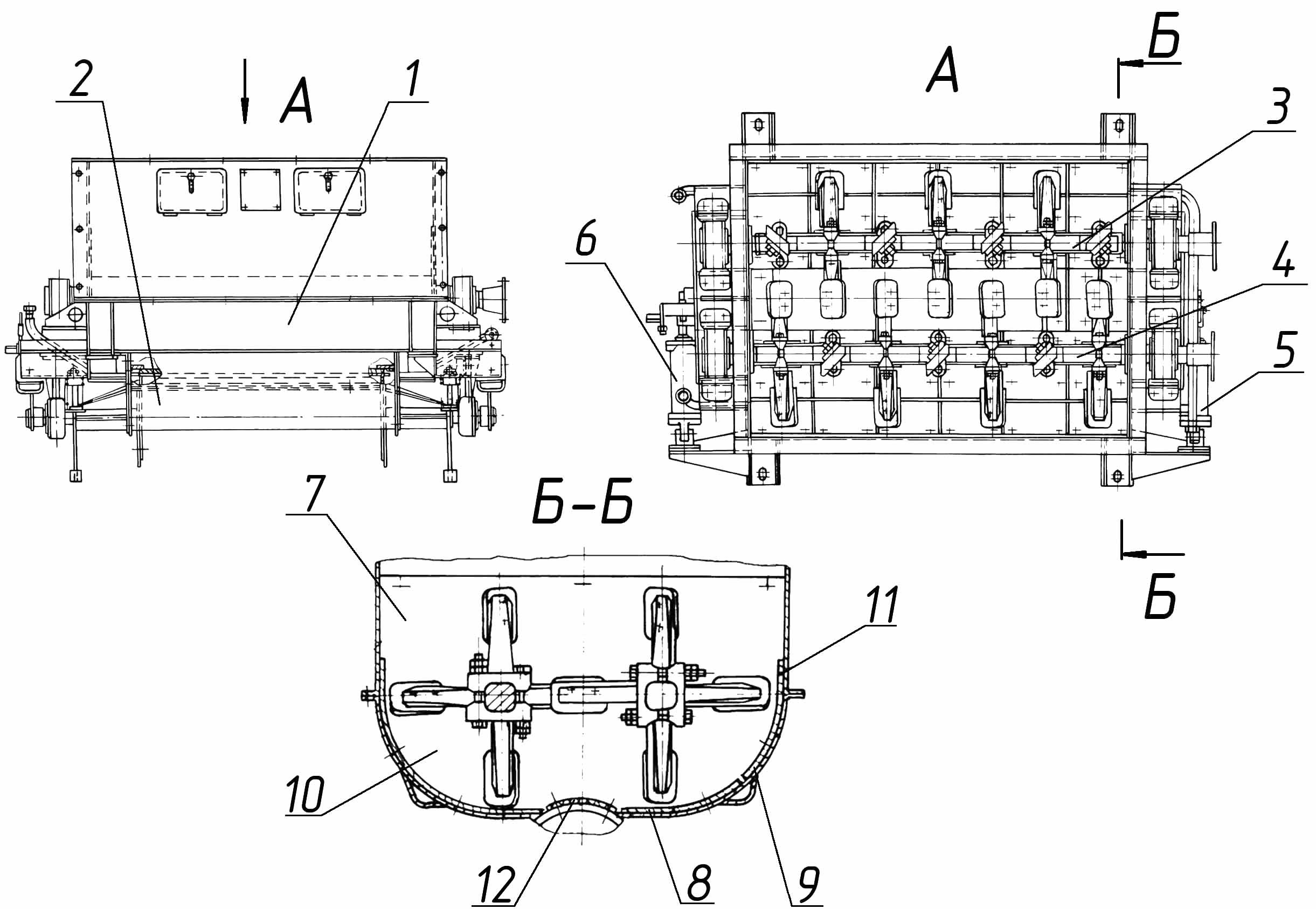
ДС-185 45.12.000 Смеситель. |
|||||||
|
Поз. |
Обозначение |
Наименование |
Масса, 1шт., кг |
Габариты, мм (длина, ширина, высота) |
Кол-во на изделие |
Примечание |
|
|
ДС-185 |
ДС-158 |
||||||
|
1. |
ДС-185 45.12.010 |
Корпус |
77 |
1980×1400×330 |
1 |
- |
|
|
2. |
ДС-185 45.10.150 |
Затвор (с 1.10.06) |
157 |
1920×450 |
1 |
- |
См. раскрытие |
|
|
ДС-185 45.10.110 |
Затвор (до 1.10.06) |
157 |
1920×450 |
1 |
- |
|
|
3. |
ДС-158 45.10 280 |
Вал (смесителя) |
273 |
L=2100 |
1 |
1 |
|
|
4. |
ДС-158 45.10.330 |
Вал (смесителя) |
273 |
L=2100 |
1 |
1 |
|
|
5. |
ДС-168 55.01.530 |
Установка пневмоцилиндра |
6,8 |
585ׯ115 |
1 |
- |
с 01.10.06г. |
|
6. |
ДС-168 55.01.510 |
Установка пневмоцилиндра |
6,8 |
585ׯ115 |
1 |
- |
с 01.10.06г. |
|
7. |
ДС-185 45.12.040 |
Бронелист (верхний торцевой) |
13,5 |
1048×317×36 |
2
|
-
|
|
|
|
ДС-158 46.10.002 |
Бронелист (верхний торцевой) |
12,6 |
1048×317×5 |
- |
2 |
|
|
8. |
ДС-185 45.12.006 |
Бронелист |
2,5 |
231×86×30 |
12 |
- |
|
|
|
ДС-158 45.10.002 |
Бронелист |
2,3 |
231×86×16 |
- |
12 |
|
|
9. |
ДС-158 45.10.008 |
Сектор брони |
6 |
231×226×30 |
24 |
24 |
|
|
10. |
ДС-158 46.10.001 |
Лист (нижний торцевой) |
12 |
1050×298×6 |
2 |
2 |
|
|
11. |
Д597 08.12.056 |
Предохранительный лист боковой |
21 |
1397×120×5 |
2 |
2 |
|
|
12. |
ДС-185 45.12.001 |
Бронелист |
5,86 |
231×226×40 |
2 |
- |
|

Замена системы управления на АБЗ Bennighoven MBA 2000
Год: 2023

Асфальтный завод в городе Енисейск
Осуществлена модернизация перевод на 5 фракций.
Установлен агрегат целлюлозной добавки.
Год 2023

Асфальтный завод ДС-185 в городе Ухта.
Полное обновление абз с его сборкой на новой площадке. Поднята производительность до 60т/ч в летний период и 40т/ч в осенне/ весенний период. Установлены - полностью новая башня, агрегат питания, горелка 6.2мвт, агрегат целлюлозной добавки, минерального порошка, адгезионная добавка
Год 2023.

Силами компании ВесПро проведена капитальная реконтрукция АБЗ в г. Саратов. Нами была произведены замены: сушильного агрегата целиком, агрегат питания, система пылеочистки, блока грохота на 6 фракций с бункером горячих материалов.
Год 2024.

Проведены работы по замене грохота, бункера горячих материалов и весов на 1000кг.
Завод переведен на работу с шестью фракциями.
Год: 2024

Замена системы управления на АБЗ УДМ-120
Год: 2023

Замена системы управления на АБЗ Marini TopTower 2000
Год: 2023

Замена системы управления на АБЗ ДС-185
Год: 2023