|
ДС-185 26.08.000 Система водоснабжения |
|||||||
|
Поз. |
Обозначение |
Наименование |
Масса 1шт. кг |
Габариты, мм (длина, ширина, высота) |
Кол-во на изделие |
Примечание |
|
|
ДС-185 |
ДС-158 |
||||||
|
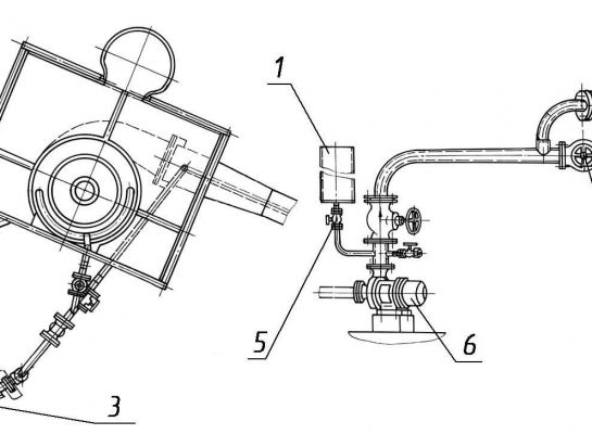
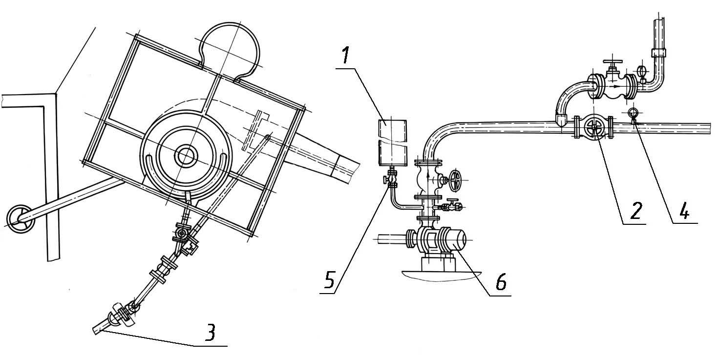
1. |
ДС-185 26.08.100 |
Бак |
5 |
457ר225 |
1 |
- |
|
|
2. |
КДМ204 85.02.100 |
Клапан |
12 |
230×333 |
3 |
- |
|
|
|
|
входит: |
|
|
|
|
|
|
|
ДС-185/373212707
|
Клапан запорный |
|
|
3 |
- |
|
|
3. |
ДС-185 26.08.110 |
Установка клапана |
16,3 |
1850×500 |
1 |
- |
|
|
4.
|
ДС-185/421213506
|
Манометр МТП-1М 0,6МПа-2,5 |
|
|
2
|
-
|
|
|
5. |
ДС-185/373211119 |
Клапан ДУ20. |
|
|
2 |
- |
|
|
6. |
ДС-185/363111232 |
Агрегат электронасосный |
|
|
1 |
- |
|

Замена системы управления на АБЗ Bennighoven MBA 2000
Год: 2023

Асфальтный завод в городе Енисейск
Осуществлена модернизация перевод на 5 фракций.
Установлен агрегат целлюлозной добавки.
Год 2023

Асфальтный завод ДС-185 в городе Ухта.
Полное обновление абз с его сборкой на новой площадке. Поднята производительность до 60т/ч в летний период и 40т/ч в осенне/ весенний период. Установлены - полностью новая башня, агрегат питания, горелка 6.2мвт, агрегат целлюлозной добавки, минерального порошка, адгезионная добавка
Год 2023.

Силами компании ВесПро проведена капитальная реконтрукция АБЗ в г. Саратов. Нами была произведены замены: сушильного агрегата целиком, агрегат питания, система пылеочистки, блока грохота на 6 фракций с бункером горячих материалов.
Год 2024.

Проведены работы по замене грохота, бункера горячих материалов и весов на 1000кг.
Завод переведен на работу с шестью фракциями.
Год: 2024

Замена системы управления на АБЗ УДМ-120
Год: 2023

Замена системы управления на АБЗ Marini TopTower 2000
Год: 2023

Замена системы управления на АБЗ ДС-185
Год: 2023