|
ДС-18567 48.03.000 Шнек. |
|||||||
|
Поз. |
Обозначение |
Наименование |
Масса, 1шт., кг |
Габариты, мм (длина, ширина, высота) |
Кол-во на изделие |
Примечание |
|
|
ДС-185 |
ДС-158 |
||||||
|
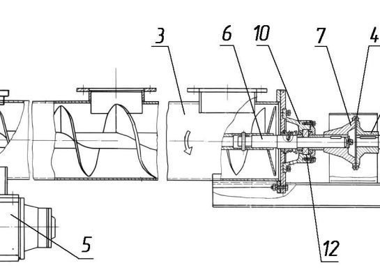
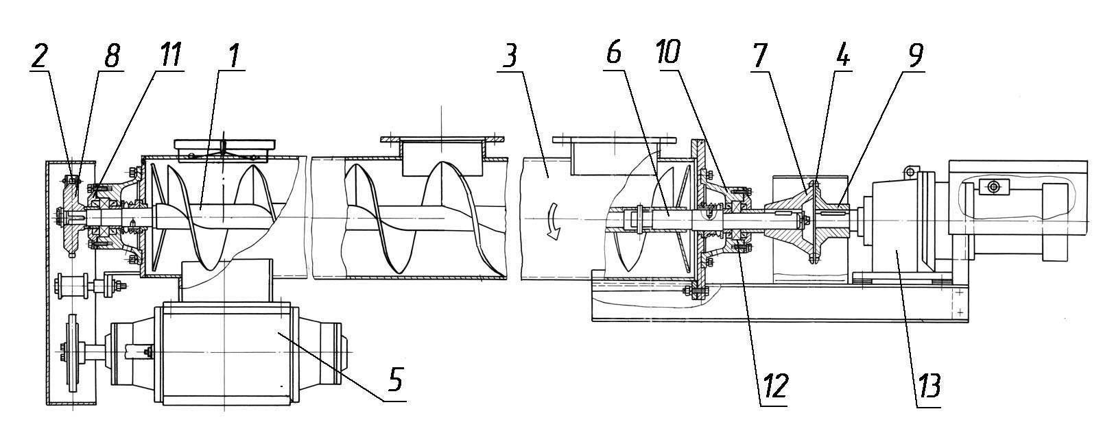
1. |
ДС-18567 48.03.010 |
Корпус |
107 |
2657×1170×524 |
1 |
- |
|
|
2. |
ДС-18567 48.03.100 |
Шнек |
88 |
2684ר244 |
1 |
- |
|
|
3. |
ДС-185 03.00.060 |
Установка мотор-редуктора |
40 |
655×246 |
1 |
- |
|
|
|
|
входит: |
|
|
|
|
|
|
|
ДС-185/417462206 |
Мотор-редуктор |
|
|
1 |
- |
|
|
|
ДС50Б 20.08.291 |
Звездочка |
3,14 |
72ר173,9 |
1 |
- |
|
|
4. |
Д709 02.02.000 |
Дозатор цемента |
138 |
L=842 |
1 |
- |
|
|
5. |
ДС-18567 48.03.140 |
Цепь |
5,2 |
L=1981 |
1 |
- |
|
|
6. |
ДС-168 44.00.175 |
Звездочка |
2,9 |
55ר173,9 |
1 |
- |
|
|
7. |
Н7110124 |
Крышка 100 |
0,97 |
22ר145 |
1 |
- |
|
|
8. |
ДС-168 44.00.177 |
Крышка |
1,7 |
29ר145 |
1 |
- |
|
|
9. |
ДС-185/461130153 |
Подшипник |
|
|
2 |
- |
|
|
10. |
Д620 03.01.005 |
Корпус подшипника |
6,32 |
101ר220 |
2 |
- |
|

Замена системы управления на АБЗ Bennighoven MBA 2000
Год: 2023

Асфальтный завод в городе Енисейск
Осуществлена модернизация перевод на 5 фракций.
Установлен агрегат целлюлозной добавки.
Год 2023

Асфальтный завод ДС-185 в городе Ухта.
Полное обновление абз с его сборкой на новой площадке. Поднята производительность до 60т/ч в летний период и 40т/ч в осенне/ весенний период. Установлены - полностью новая башня, агрегат питания, горелка 6.2мвт, агрегат целлюлозной добавки, минерального порошка, адгезионная добавка
Год 2023.

Силами компании ВесПро проведена капитальная реконтрукция АБЗ в г. Саратов. Нами была произведены замены: сушильного агрегата целиком, агрегат питания, система пылеочистки, блока грохота на 6 фракций с бункером горячих материалов.
Год 2024.

Проведены работы по замене грохота, бункера горячих материалов и весов на 1000кг.
Завод переведен на работу с шестью фракциями.
Год: 2024

Замена системы управления на АБЗ УДМ-120
Год: 2023

Замена системы управления на АБЗ Marini TopTower 2000
Год: 2023

Замена системы управления на АБЗ ДС-185
Год: 2023