|
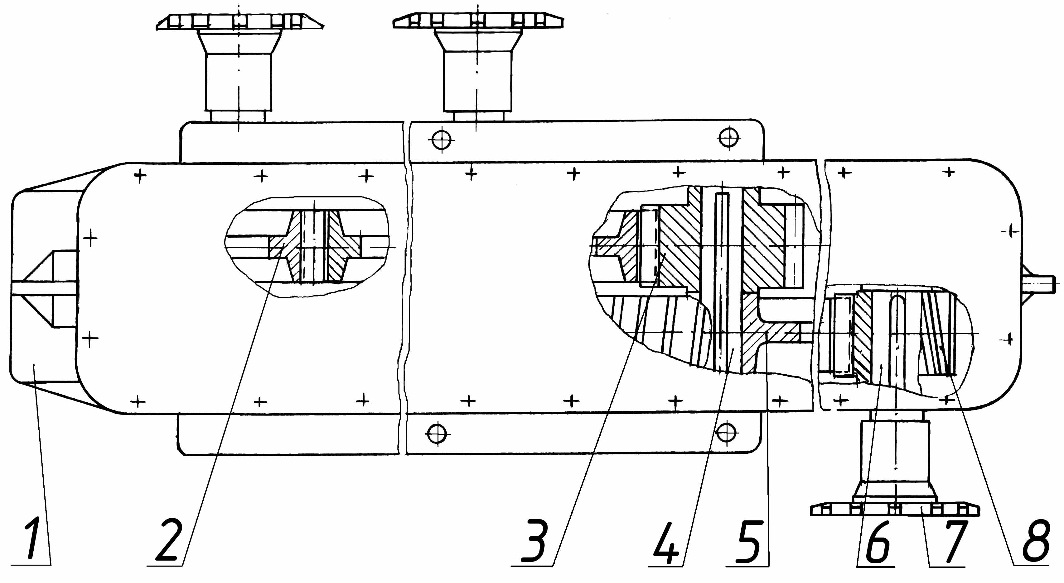
Д225Б 23.05-00 Редуктор мешалки. |
|||||||
|
Поз. |
Обозначение |
Наименование |
Масса, 1шт., кг |
Габариты, мм (длина, ширина, высота) |
Кол-во на изделие |
Примечание |
|
|
ДС-185 |
ДС-158 |
||||||
|
1. |
Д225Б 2305-01 |
Корпус |
165 |
1200х500х485 |
1 |
1 |
|
|
2. |
Д225Б 2305-05А |
Шестерня |
50 |
113хØ440 |
2 |
2 |
|
|
3. |
Д225Б 2305-04А |
Шестерня |
14,6 |
113хØ190 |
1 |
1 |
|
|
4. |
Д225Б 2305-07Б |
Вал |
7,2 |
300хØ65 |
1 |
1 |
|
|
5. |
Д225Б 2305-03А |
Шестерня |
57 |
116хØ492,76 |
1 |
1 |
|
|
6. |
Д225Б 2305-06А |
Вал |
9,8 |
409хØ70 |
3 |
3 |
|
|
7. |
Д597 08.02.317 |
Полумуфта |
4,04 |
102хØ188,1 |
3 |
3 |
|
|
8. |
Д225Б 2305-02А |
Шестерня |
5,73 |
113хØ137,21 |
1 |
1 |
|

Замена системы управления на АБЗ Bennighoven MBA 2000
Год: 2023

Асфальтный завод в городе Енисейск
Осуществлена модернизация перевод на 5 фракций.
Установлен агрегат целлюлозной добавки.
Год 2023

Асфальтный завод ДС-185 в городе Ухта.
Полное обновление абз с его сборкой на новой площадке. Поднята производительность до 60т/ч в летний период и 40т/ч в осенне/ весенний период. Установлены - полностью новая башня, агрегат питания, горелка 6.2мвт, агрегат целлюлозной добавки, минерального порошка, адгезионная добавка
Год 2023.

Силами компании ВесПро проведена капитальная реконтрукция АБЗ в г. Саратов. Нами была произведены замены: сушильного агрегата целиком, агрегат питания, система пылеочистки, блока грохота на 6 фракций с бункером горячих материалов.
Год 2024.

Проведены работы по замене грохота, бункера горячих материалов и весов на 1000кг.
Завод переведен на работу с шестью фракциями.
Год: 2024

Замена системы управления на АБЗ УДМ-120
Год: 2023

Замена системы управления на АБЗ Marini TopTower 2000
Год: 2023

Замена системы управления на АБЗ ДС-185
Год: 2023