|
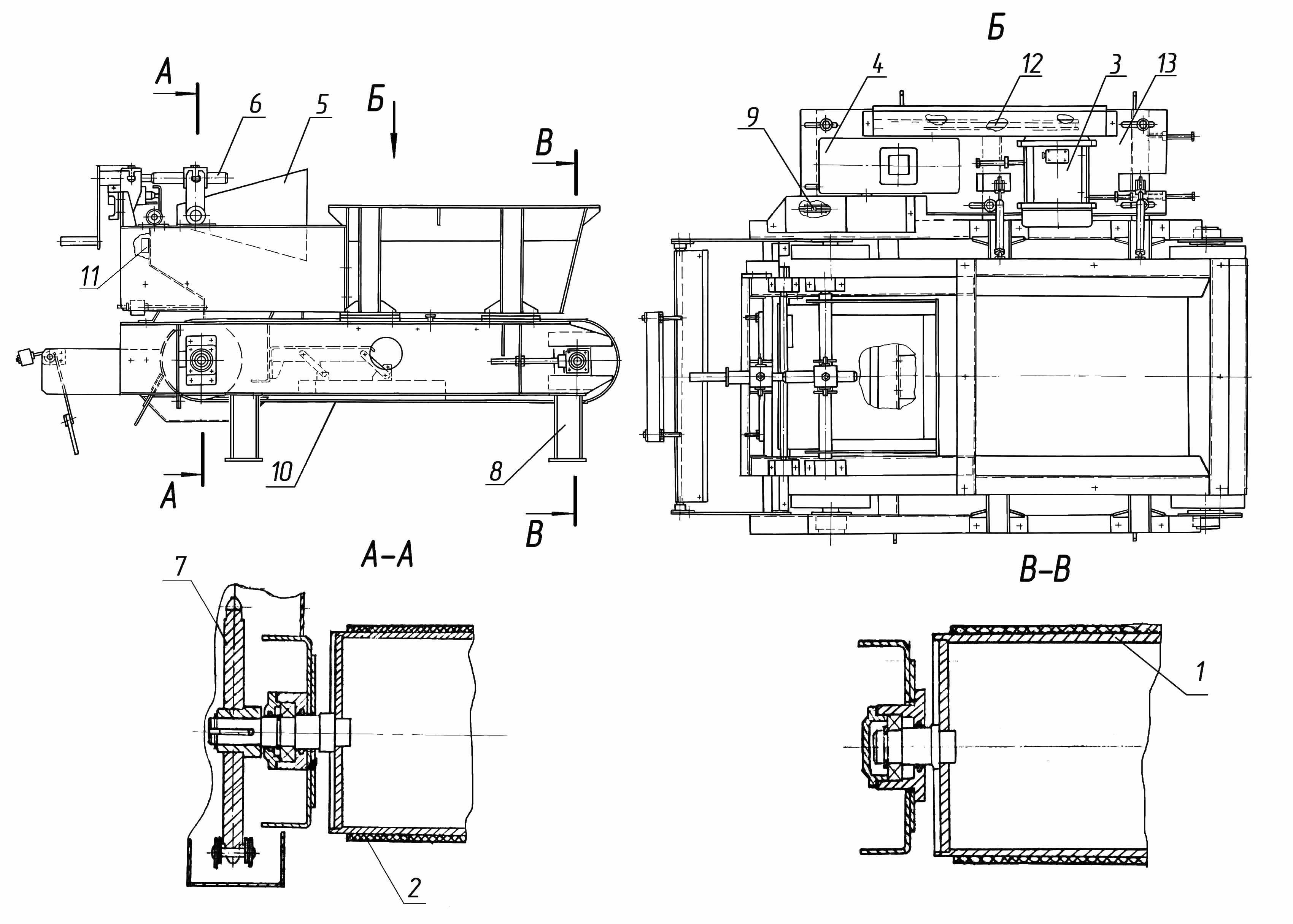
Поз. |
Обозначение |
Наименование |
Масса, 1шт., кг |
Габариты, мм (длина, ширина, высота) |
Кол-во на изделие |
Примечание |
|
|
ДС-185 |
ДС-158 |
||||||
|
2.
|
ДС 117-2К 20.02.290
|
Цепь |
3
|
L=1193
|
1
|
1
|
|
|
Габариты, мм (длина, ширина, высота) |
|
|
L=1193
|
|

Замена системы управления на АБЗ Bennighoven MBA 2000
Год: 2023

Асфальтный завод в городе Енисейск
Осуществлена модернизация перевод на 5 фракций.
Установлен агрегат целлюлозной добавки.
Год 2023

Асфальтный завод ДС-185 в городе Ухта.
Полное обновление абз с его сборкой на новой площадке. Поднята производительность до 60т/ч в летний период и 40т/ч в осенне/ весенний период. Установлены - полностью новая башня, агрегат питания, горелка 6.2мвт, агрегат целлюлозной добавки, минерального порошка, адгезионная добавка
Год 2023.

Силами компании ВесПро проведена капитальная реконтрукция АБЗ в г. Саратов. Нами была произведены замены: сушильного агрегата целиком, агрегат питания, система пылеочистки, блока грохота на 6 фракций с бункером горячих материалов.
Год 2024.

Проведены работы по замене грохота, бункера горячих материалов и весов на 1000кг.
Завод переведен на работу с шестью фракциями.
Год: 2024

Замена системы управления на АБЗ УДМ-120
Год: 2023

Замена системы управления на АБЗ Marini TopTower 2000
Год: 2023

Замена системы управления на АБЗ ДС-185
Год: 2023