|
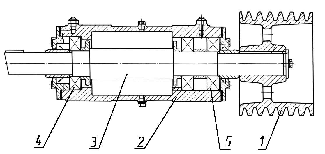
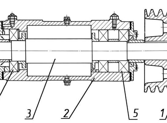
ДС-185 20.05.050 Опора (по запчастям). |
||||||||
|
Поз. |
Обозначение |
Наименование |
Масса 1шт. кг |
Габариты, мм (длина, ширина, высота) |
Кол-во на изделие |
Примечание |
|
|
|
ДС-185 |
ДС-158 |
|
||||||
|
1. |
ДС-185 20.05.053 |
Шкив |
33 |
187ר286,4 |
1 |
- |
|
|
|
2. |
ДС-158 20.05.183 |
Корпус |
31,6 |
400×325×190 |
1 |
1 |
|
|
|
3. |
ДС-158 20.05.186 |
Вал |
18,5 |
776ר70 |
1 |
1 |
|
|
|
4. |
ДС-185/461110336 |
Подшипник 312 |
|
|
1 |
1 |
|
|
|
5. |
ДС-185/462100328 |
Подшипник 42312А |
|
|
2 |
2 |
|
|

Замена системы управления на АБЗ Bennighoven MBA 2000
Год: 2023

Асфальтный завод в городе Енисейск
Осуществлена модернизация перевод на 5 фракций.
Установлен агрегат целлюлозной добавки.
Год 2023

Асфальтный завод ДС-185 в городе Ухта.
Полное обновление абз с его сборкой на новой площадке. Поднята производительность до 60т/ч в летний период и 40т/ч в осенне/ весенний период. Установлены - полностью новая башня, агрегат питания, горелка 6.2мвт, агрегат целлюлозной добавки, минерального порошка, адгезионная добавка
Год 2023.

Силами компании ВесПро проведена капитальная реконтрукция АБЗ в г. Саратов. Нами была произведены замены: сушильного агрегата целиком, агрегат питания, система пылеочистки, блока грохота на 6 фракций с бункером горячих материалов.
Год 2024.

Проведены работы по замене грохота, бункера горячих материалов и весов на 1000кг.
Завод переведен на работу с шестью фракциями.
Год: 2024

Замена системы управления на АБЗ УДМ-120
Год: 2023

Замена системы управления на АБЗ Marini TopTower 2000
Год: 2023

Замена системы управления на АБЗ ДС-185
Год: 2023