|
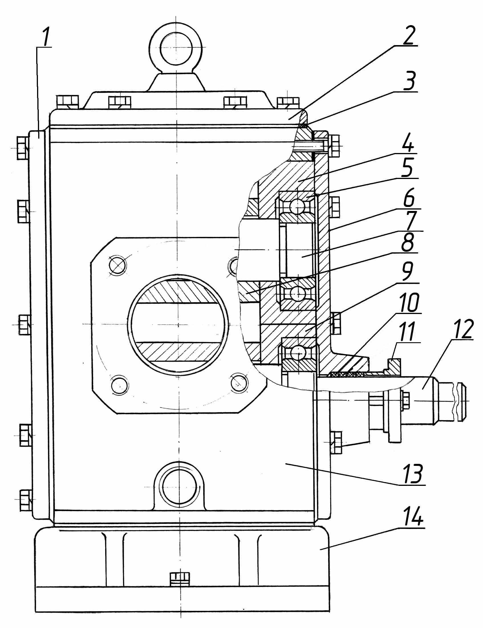
ДС-185 45.07.120 Насос битумный. |
|||||||
|
Поз. |
Обозначение |
Наименование |
Масса, кг |
Габариты, мм (L×B×H) |
Кол-во на изделие |
Примечание |
|
|
ДС-185 |
ДС-158 |
||||||
|
1 |
ДС-185 45.07.125 |
Крышка (глухая боковая) |
8,8 |
215×336 |
1 |
1 |
|
|
2 |
ДС-185 45.07.129 |
Крышка (верхняя) |
6,51 |
294×220×44 |
1 |
1 |
|
|
3 |
ДС-185 45.07.138 |
Прокладка |
0,07 |
294×220 |
2 |
2 |
|
|
4 |
ДС-185 45.07.127 |
Вставка ведомой шестерни |
3,15 |
42ׯ150 |
2 |
2 |
|
|
5 |
ДС-185/4612113436 |
Подшипник |
0,83 |
25ׯ100 |
4 |
4 |
|
|
6 |
ДС-185 45.07.133 |
Крышка сквозная (боковая) |
9 |
216×336×55 |
1 |
1 |
|
|
7 |
ДС-185 45.07.123 |
Ось |
3,75 |
222ׯ55 |
1 |
1 |
|
|
8 |
ДС-185 45.07.131 |
Шестерня |
8,7 |
140ׯ150 |
2 |
2 |
|
|
9 |
ДС-185 45.07.126 |
Вставка ведущей шестерни |
3,15 |
42,2ׯ150,65 |
2 |
2 |
|
|
10 |
ДС-185 45.07.142 |
Кольцо уплотнительное |
0,0099 |
Æ52 |
3 |
3 |
|
|
11 |
ДС-185 45.07.139 |
Букса |
0,59 |
47ׯ120 |
1 |
1 |
|
|
12 |
ДС-185 45.07.122 |
Вал ведущий |
5,05 |
387ׯ55 |
1 |
1 |
|
|
13 |
ДС-185 45.07.121 |
Корпус |
46,38 |
294×224×340 |
1 |
1 |
|
|
14 |
ДС-185 45.07.128 |
Основание |
12,48 |
410×250×50 |
1 |
1 |
|

Замена системы управления на АБЗ Bennighoven MBA 2000
Год: 2023

Асфальтный завод в городе Енисейск
Осуществлена модернизация перевод на 5 фракций.
Установлен агрегат целлюлозной добавки.
Год 2023

Асфальтный завод ДС-185 в городе Ухта.
Полное обновление абз с его сборкой на новой площадке. Поднята производительность до 60т/ч в летний период и 40т/ч в осенне/ весенний период. Установлены - полностью новая башня, агрегат питания, горелка 6.2мвт, агрегат целлюлозной добавки, минерального порошка, адгезионная добавка
Год 2023.

Силами компании ВесПро проведена капитальная реконтрукция АБЗ в г. Саратов. Нами была произведены замены: сушильного агрегата целиком, агрегат питания, система пылеочистки, блока грохота на 6 фракций с бункером горячих материалов.
Год 2024.

Проведены работы по замене грохота, бункера горячих материалов и весов на 1000кг.
Завод переведен на работу с шестью фракциями.
Год: 2024

Замена системы управления на АБЗ УДМ-120
Год: 2023

Замена системы управления на АБЗ Marini TopTower 2000
Год: 2023

Замена системы управления на АБЗ ДС-185
Год: 2023