|
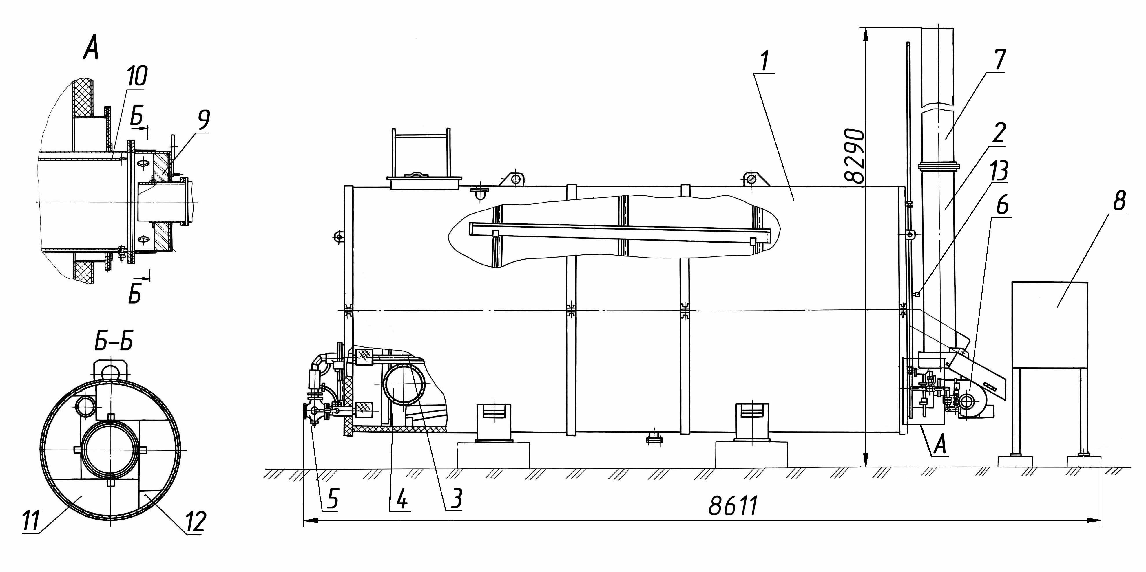
ДС-18561 85.00.000Ч Нагреватель битума. |
|
|||||||
|
Поз. |
Обозначение |
Наименование |
Масса 1шт. кг |
Габариты, мм (длина, ширина, высота) |
Кол-во на изделие |
Примечание |
|
|
|
ДС-185 |
ДС-158 |
|
||||||
|
1. |
ДС-185 86.00.000 |
Емкость |
5836 |
7258×2910×2973 |
1 |
- |
|
|
|
2. |
ДС-185 86.00.010 |
Дымоход (с 01.08.06г.) |
79 |
2653ר416 |
1 |
- |
входит в поз.1 |
|
|
|
Д649А-1 01.00.140 |
Дымоход (до 01.08.06г.) |
74 |
2653ר416 |
1 |
1 |
|
|
|
3. |
ДС-158 81.01.020 |
Змеевик |
400 |
5630×800×195 |
1 |
1 |
входит в поз.1 |
|
|
4. |
Д649А-1 1500030 |
Труба жаровая |
988 |
5940×350×1360 |
1 |
1 |
входит в поз.1 |
|
|
5. |
К-80-III-00-Ч |
Кран трехходовой Ø80 |
27 |
223×260×290 |
1 |
1 |
входит в поз.1 |
|
|
6. |
ДС-18561 85.00.100 |
Установка газового оборудования |
92 |
|
1 |
- |
|
|
|
|
|
входит: |
|
|
|
|
|
|
|
|
ДС-185/311397014 |
Горелка блочная газовая |
|
|
1 |
- |
|
|
|
|
ДС-185/421872011 |
Датчик-реле |
|
|
1 |
- |
|
|
|
|
ДС-185/421214314 |
Манометр |
|
|
1 |
- |
|
|
|
|
ДС-185/421214107 |
Мановакууметр |
|
|
1 |
- |
|
|
|
|
ДС-185/421112021 |
Термометр с жестким щупом |
|
|
1 |
- |
|
|
|
7. |
Д506 00.00-30 |
Труба дымовая |
105 |
5010ר320 |
1 |
1 |
|
|
|
8. |
ДС-18561 95.00.000 |
Электрооборудование нагревателя битума |
|
|
1 |
- |
|
|
|
9. |
ДС-18561 81.00.010 |
Стенка (передняя) |
36,5 |
224ר526 |
1 |
|
|
|
|
10. |
ДС-18561 81.00.040 |
Вставка |
97 |
1029ר395 |
1 |
|
|
|
|
11. |
ДС-185/154100052 |
Кирпич прямой |
|
|
6 |
|
|
|
|
12. |
ДС-185/152100201 |
Мертель огнеупорный |
|
|
5,5кг |
|
|
|
|
13. |
ДС-185/421141172 |
Термопреобразователь сопротивления |
|
|
1 |
1 |
|
|

Замена системы управления на АБЗ Bennighoven MBA 2000
Год: 2023

Асфальтный завод в городе Енисейск
Осуществлена модернизация перевод на 5 фракций.
Установлен агрегат целлюлозной добавки.
Год 2023

Асфальтный завод ДС-185 в городе Ухта.
Полное обновление абз с его сборкой на новой площадке. Поднята производительность до 60т/ч в летний период и 40т/ч в осенне/ весенний период. Установлены - полностью новая башня, агрегат питания, горелка 6.2мвт, агрегат целлюлозной добавки, минерального порошка, адгезионная добавка
Год 2023.

Силами компании ВесПро проведена капитальная реконтрукция АБЗ в г. Саратов. Нами была произведены замены: сушильного агрегата целиком, агрегат питания, система пылеочистки, блока грохота на 6 фракций с бункером горячих материалов.
Год 2024.

Проведены работы по замене грохота, бункера горячих материалов и весов на 1000кг.
Завод переведен на работу с шестью фракциями.
Год: 2024

Замена системы управления на АБЗ УДМ-120
Год: 2023

Замена системы управления на АБЗ Marini TopTower 2000
Год: 2023

Замена системы управления на АБЗ ДС-185
Год: 2023