|
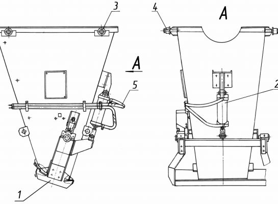
ДС-185 52.04.000 Лоток. |
|||||||
|
Поз. |
Обозначение |
Наименование |
Масса, 1шт., кг |
Габариты, мм (длина, ширина, высота) |
Кол-во на изделие |
Примечание |
|
|
ДС-185 |
ДС-158 |
||||||
|
1. |
ДС-185 51.04.110 |
Затвор |
95 |
1100×400×600 |
1 |
- |
|
|
|
|
входит: |
|
|
|
|
|
|
|
ДС-185/344351308 |
электронагреватель трубчатый ТЭН-120Г13/1S220 |
|
|
2 |
- |
|
|
2. |
ДС-168 55.08.150 |
Пневмоцилиндр |
|
|
1 |
- |
с 01.06.07г. |
|
|
ДС-185 51.04.020 |
Пневмоцилиндр |
12 |
515ר190 |
1 |
- |
до 01.06.07г. |
|
3. |
ДС-168 82.04.001 |
Ролик |
2,3 |
50ר130 |
4 |
- |
|
|
4. |
ДС-185/461110223 |
Подшипник |
|
|
4 |
- |
|
|
5. |
ДС-185/255711019 |
Трубопровод TRN 10/8 |
|
L=1,2м |
2 |
- |
|

Замена системы управления на АБЗ Bennighoven MBA 2000
Год: 2023

Асфальтный завод в городе Енисейск
Осуществлена модернизация перевод на 5 фракций.
Установлен агрегат целлюлозной добавки.
Год 2023

Асфальтный завод ДС-185 в городе Ухта.
Полное обновление абз с его сборкой на новой площадке. Поднята производительность до 60т/ч в летний период и 40т/ч в осенне/ весенний период. Установлены - полностью новая башня, агрегат питания, горелка 6.2мвт, агрегат целлюлозной добавки, минерального порошка, адгезионная добавка
Год 2023.

Силами компании ВесПро проведена капитальная реконтрукция АБЗ в г. Саратов. Нами была произведены замены: сушильного агрегата целиком, агрегат питания, система пылеочистки, блока грохота на 6 фракций с бункером горячих материалов.
Год 2024.

Проведены работы по замене грохота, бункера горячих материалов и весов на 1000кг.
Завод переведен на работу с шестью фракциями.
Год: 2024

Замена системы управления на АБЗ УДМ-120
Год: 2023

Замена системы управления на АБЗ Marini TopTower 2000
Год: 2023

Замена системы управления на АБЗ ДС-185
Год: 2023