|
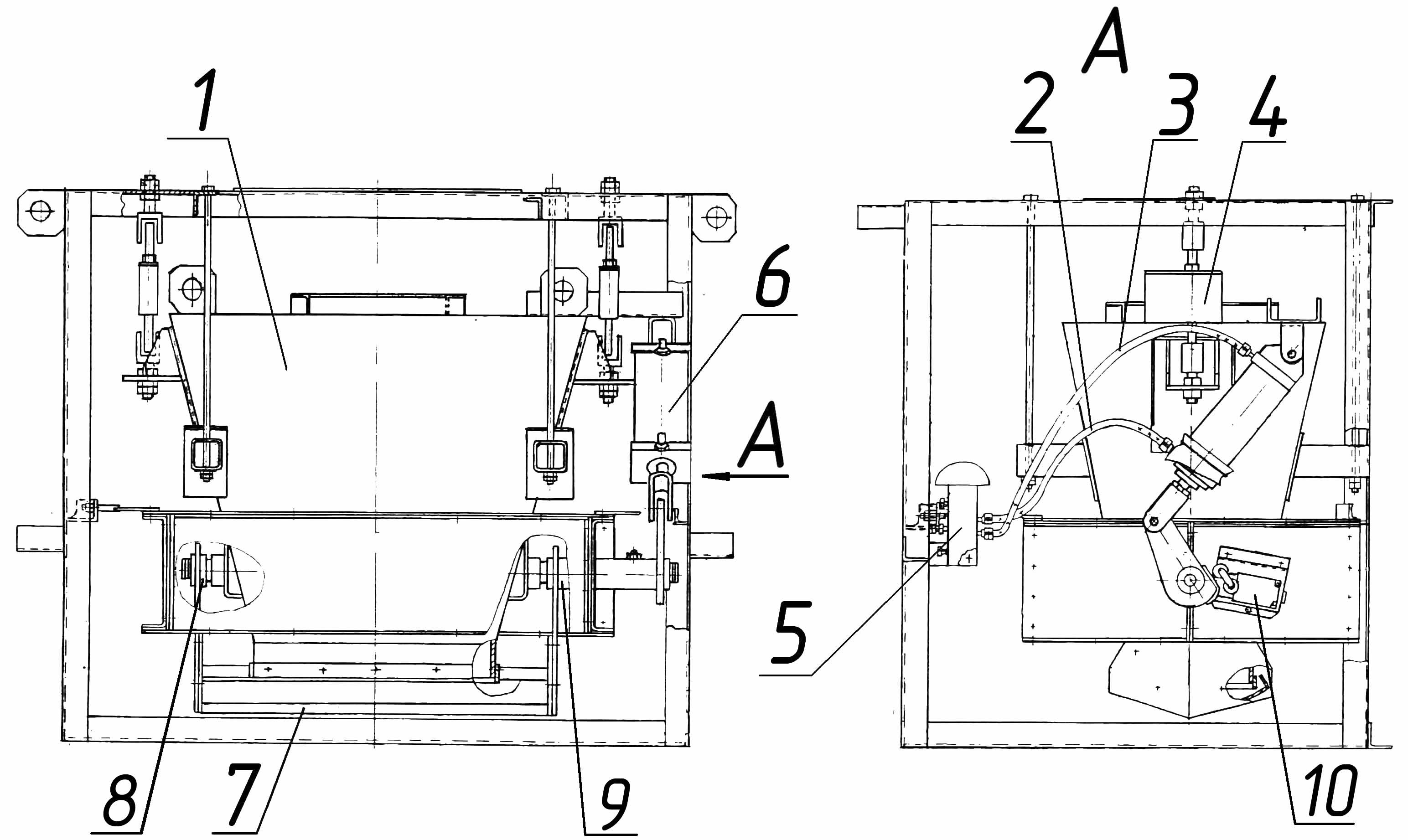
ДС-185 05.06.000 Дозатор весовой минерального порошка. |
|||||||
|
Поз. |
Обозначение |
Наименование |
Масса, 1шт., кг |
Габариты, мм (длина, ширина, высота) |
Кол-во на изделие |
Примечание |
|
|
ДС-185 |
ДС-158 |
|
|||||
|
1. |
ДС-185 05.06.070 |
Бункер |
62 |
1030×680×795 |
1 |
- |
|
|
2. |
ДС-185/255711019 |
Трубопровод TRN 10/8 |
|
L=500 |
1 |
- |
|
|
3. |
ДС-185/255711019 |
Трубопровод TRN 10/8 |
|
L=950 |
1 |
- |
|
|
4. |
ДС-1683 55.07.110 |
Установка тензодатчика |
2,7 |
500×60×165 |
2 |
- |
тензодатчики в состав дозатора не входят |
|
5. |
ДС-168 55.02.350 |
Пневмораспределитель |
1,2 |
166×128×113 |
1 |
- |
|
|
6. |
ДС-61А 22.00.180 |
Установка пневмоцилиндра |
6,6 |
705×140 |
1 |
- |
|
|
|
|
входит: |
|
|
|
|
|
|
|
ДС-185/415127031 |
Пневмоцилиндр |
|
|
1 |
- |
с задним сферическим шарниром и вилкой для штока |
|
|
ДС-185/415127001 |
Фитинг прямой |
|
|
2 |
- |
|
|
7. |
ДС-158 05.04.410 |
Затвор |
10,2 |
682×160 |
1 |
1 |
|
|
8. |
ДС-158 05.04.340 |
Боковина |
2,5 |
330×40×315 |
1 |
1 |
|
|
9. |
ДС-185 05.06.130 |
Боковина |
4 |
400×190×315 |
1 |
1 |
|
|
10. |
ДС-185/342831526 |
Выключатель |
|
|
1 |
1 |
|

Замена системы управления на АБЗ Bennighoven MBA 2000
Год: 2023

Асфальтный завод в городе Енисейск
Осуществлена модернизация перевод на 5 фракций.
Установлен агрегат целлюлозной добавки.
Год 2023

Асфальтный завод ДС-185 в городе Ухта.
Полное обновление абз с его сборкой на новой площадке. Поднята производительность до 60т/ч в летний период и 40т/ч в осенне/ весенний период. Установлены - полностью новая башня, агрегат питания, горелка 6.2мвт, агрегат целлюлозной добавки, минерального порошка, адгезионная добавка
Год 2023.

Силами компании ВесПро проведена капитальная реконтрукция АБЗ в г. Саратов. Нами была произведены замены: сушильного агрегата целиком, агрегат питания, система пылеочистки, блока грохота на 6 фракций с бункером горячих материалов.
Год 2024.

Проведены работы по замене грохота, бункера горячих материалов и весов на 1000кг.
Завод переведен на работу с шестью фракциями.
Год: 2024

Замена системы управления на АБЗ УДМ-120
Год: 2023

Замена системы управления на АБЗ Marini TopTower 2000
Год: 2023

Замена системы управления на АБЗ ДС-185
Год: 2023