|
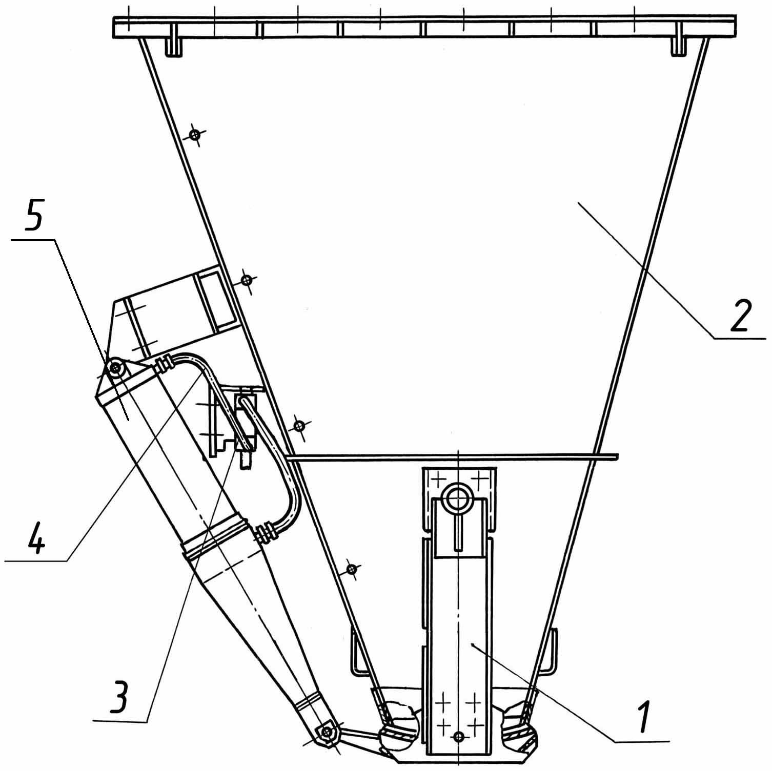
ДС-185 52.05.000 Бункер. |
|||||||
|
Поз. |
Обозначение |
Наименование |
Масса, 1шт., кг |
Габариты, мм (длина, ширина, высота) |
Кол-во |
Примечание |
|
|
ДС-185 |
ДС-158 |
||||||
|
1 |
ДС-185 51.05.060 |
Затвор |
156 |
1820×563×710 |
1 |
- |
|
|
|
|
входит: |
|
|
|
|
|
|
|
ДС-185/344351308
|
электронагреватель трубчатый ТЭН |
|
|
2 |
- |
|
|
2 |
ДС-185 52.05.010 |
Бункер |
360 |
1604×1548×1841 |
1 |
- |
|
|
3 |
ДС-168 55.02.350 |
Пневмораспределитель |
1,2 |
128×113×166 |
1 |
- |
с 01.01.06г. |
|
|
ДС-168 55.02.300 |
Пневмораспределитель |
2,1 |
217×140×90 |
1 |
- |
до 01.01.06г. |
|
4 |
ДС-185/255711019 |
Трубопровод TRN 10/8 |
|
l=950 |
2 |
- |
|
|
5 |
ДС-168 82.02.050 |
Пневмоцилиндр 160×400 (Камоцци) |
19 |
1256×264×200 |
1 |
- |
с 01.06.07г. |
|
|
ДС-185 51.50.250 |
Пневмоцилиндр |
37 |
1140×270 |
1 |
- |
до 01.06.07г. |

Замена системы управления на АБЗ Bennighoven MBA 2000
Год: 2023

Асфальтный завод в городе Енисейск
Осуществлена модернизация перевод на 5 фракций.
Установлен агрегат целлюлозной добавки.
Год 2023

Асфальтный завод ДС-185 в городе Ухта.
Полное обновление абз с его сборкой на новой площадке. Поднята производительность до 60т/ч в летний период и 40т/ч в осенне/ весенний период. Установлены - полностью новая башня, агрегат питания, горелка 6.2мвт, агрегат целлюлозной добавки, минерального порошка, адгезионная добавка
Год 2023.

Силами компании ВесПро проведена капитальная реконтрукция АБЗ в г. Саратов. Нами была произведены замены: сушильного агрегата целиком, агрегат питания, система пылеочистки, блока грохота на 6 фракций с бункером горячих материалов.
Год 2024.

Проведены работы по замене грохота, бункера горячих материалов и весов на 1000кг.
Завод переведен на работу с шестью фракциями.
Год: 2024

Замена системы управления на АБЗ УДМ-120
Год: 2023

Замена системы управления на АБЗ Marini TopTower 2000
Год: 2023

Замена системы управления на АБЗ ДС-185
Год: 2023