|
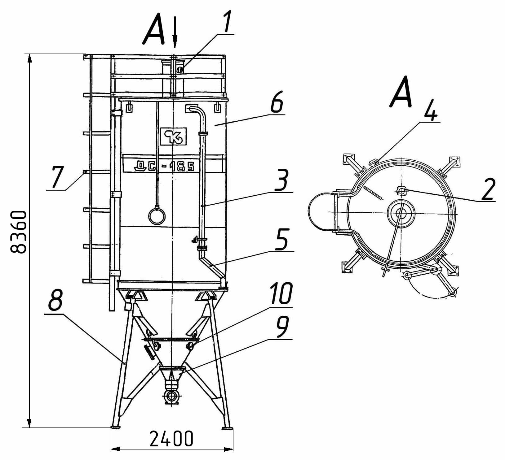
ДС-185 03.01.000 Бункер. |
|||||||
|
Поз. |
Обозначение |
Наименование |
Масса, 1шт., кг |
Габариты, мм (длина, ширина, высота) |
Кол-во на изделие |
Примечание |
|
|
ДС-185 |
ДС-158 |
||||||
|
1. |
ДС59 06.00.230 |
Фильтр |
28 |
1730×825 |
1 |
1 |
|
|
|
|
входит: |
|
|
|
|
|
|
|
ДС59 06.00.280 |
Лента |
0,135 |
L=1760 |
2 |
2 |
|
|
|
ДС59 06.00.253 |
Рукав |
0,03 |
530ר142 |
6 |
6 |
|
|
|
ДС59 06.00.254 |
Рукав |
0,09 |
575ר542 |
1 |
1 |
|
|
|
АТЦ-8-500А 0502-13 |
Пружина |
0,36 |
126ר52 |
1 |
1 |
|
|
2. |
ДС-185 40.04.000-02 |
Сигнализатор уровня сыпучих материалов с крыльчаткой |
10,5 |
230×210×1100 |
1 |
1 |
верхний |
|
3. |
ДС117-2Е 03.00.020 |
Труба |
47,7 |
3500×205 |
1 |
1 |
|
|
4. |
ДС-185 40.04.000-01 |
Сигнализатор уровня сыпучих материалов с крыльчаткой |
9,5 |
230×210×850 |
1 |
1 |
нижний |
|
5. |
ДС-158 04.00.020 |
Труба |
21 |
1002×540 |
1 |
1 |
|
|
6. |
ДС-158 04.00.030 |
Бункер |
1375 |
6976ר2380 |
1 |
1 |
|
|
7. |
ДС-158 04.00.040 |
Лестница |
84,5 |
5400×735×818 |
1 |
1 |
|
|
8. |
ДС-185 03.01.300 |
Опора |
470 |
2400×2400×3000 |
1 |
1 |
|
|
9. |
ДС-185 03.01.200 |
Установка питателя лопастного |
220 |
1650×877 |
1 |
1 |
|
|
10. |
ДС-185/255711019 |
Трубопровод TRN 10/8 |
|
L=600 |
6 |
6 |
|

Замена системы управления на АБЗ Bennighoven MBA 2000
Год: 2023

Асфальтный завод в городе Енисейск
Осуществлена модернизация перевод на 5 фракций.
Установлен агрегат целлюлозной добавки.
Год 2023

Асфальтный завод ДС-185 в городе Ухта.
Полное обновление абз с его сборкой на новой площадке. Поднята производительность до 60т/ч в летний период и 40т/ч в осенне/ весенний период. Установлены - полностью новая башня, агрегат питания, горелка 6.2мвт, агрегат целлюлозной добавки, минерального порошка, адгезионная добавка
Год 2023.

Силами компании ВесПро проведена капитальная реконтрукция АБЗ в г. Саратов. Нами была произведены замены: сушильного агрегата целиком, агрегат питания, система пылеочистки, блока грохота на 6 фракций с бункером горячих материалов.
Год 2024.

Проведены работы по замене грохота, бункера горячих материалов и весов на 1000кг.
Завод переведен на работу с шестью фракциями.
Год: 2024

Замена системы управления на АБЗ УДМ-120
Год: 2023

Замена системы управления на АБЗ Marini TopTower 2000
Год: 2023

Замена системы управления на АБЗ ДС-185
Год: 2023