|
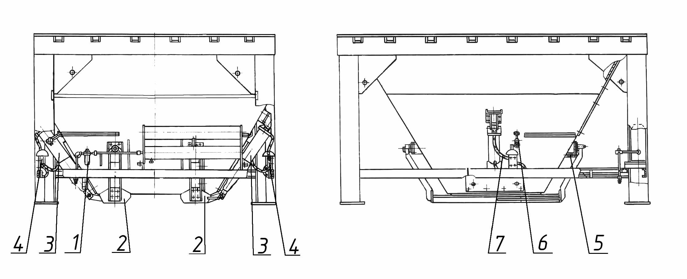
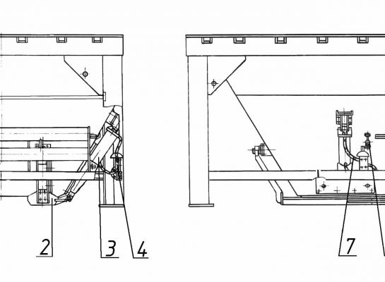
ДС-185 52.51.000 Блок нижний. |
|||||||
|
Поз. |
Обозначение |
Наименование |
Масса, 1шт., кг |
Габариты, мм (длина, ширина, высота) |
Кол-во на изделие |
Примечание |
|
|
ДС-185 |
ДС-158 |
||||||
|
1. |
ДС-185/421153152 |
Фильтр |
|
|
1 |
- |
с 01.06.07г. |
|
|
ДС-185/415633401 |
Модульное устройство
|
|
|
1 |
- |
до 01.06.07г. |
|
2. |
ДС-185 51.50.010 |
Затвор |
160 |
2316×563×620 |
2 |
- |
|
|
|
|
входит: |
|
|
|
|
|
|
|
ДС-185/344351308 |
Электронагреватель труб- чатый ТЭН |
|
|
2 |
- |
|
|
3. |
ДС-168 82.05.050 |
Пневмоцилиндр |
19 |
1256×264×200 |
2 |
- |
с 01.06.07г. |
|
|
ДС-185 51.50.250 |
Пневмоцилиндр 160×400 |
37 |
1127×270 |
2 |
- |
до 01.06.07г. |
|
|
(Д645-2Г 60.58.270) |
(Пневмоцилиндр) |
|
|
|
|
|
|
4. |
ДС-168 55.02.360 |
Пневмораспределитель |
1,2 |
166×129×125 |
2 |
- |
с 01.01.06г. |
|
|
ДС-168 55.02.300 |
Пневмораспределитель |
2,1 |
217×140×90 |
2 |
- |
до 01.01.06г. |
|
5. |
ДС-185/421141169 |
Термопреобразователь сопротивления |
|
|
2 |
- |
|
|
6. |
ДС-185/421141172 |
Термопреобразователь сопротивления |
|
|
1 |
- |
|
|
7. |
ДС-185/255711019 |
Трубопровод TRN |
|
|
4,6м* |
- |
|
* Указана общая длина трубопровода TRN для всего блока нижнего. Необходимую длину для своих нужд определяет заказчик.

Замена системы управления на АБЗ Bennighoven MBA 2000
Год: 2023

Асфальтный завод в городе Енисейск
Осуществлена модернизация перевод на 5 фракций.
Установлен агрегат целлюлозной добавки.
Год 2023

Асфальтный завод ДС-185 в городе Ухта.
Полное обновление абз с его сборкой на новой площадке. Поднята производительность до 60т/ч в летний период и 40т/ч в осенне/ весенний период. Установлены - полностью новая башня, агрегат питания, горелка 6.2мвт, агрегат целлюлозной добавки, минерального порошка, адгезионная добавка
Год 2023.

Силами компании ВесПро проведена капитальная реконтрукция АБЗ в г. Саратов. Нами была произведены замены: сушильного агрегата целиком, агрегат питания, система пылеочистки, блока грохота на 6 фракций с бункером горячих материалов.
Год 2024.

Проведены работы по замене грохота, бункера горячих материалов и весов на 1000кг.
Завод переведен на работу с шестью фракциями.
Год: 2024

Замена системы управления на АБЗ УДМ-120
Год: 2023

Замена системы управления на АБЗ Marini TopTower 2000
Год: 2023

Замена системы управления на АБЗ ДС-185
Год: 2023