|
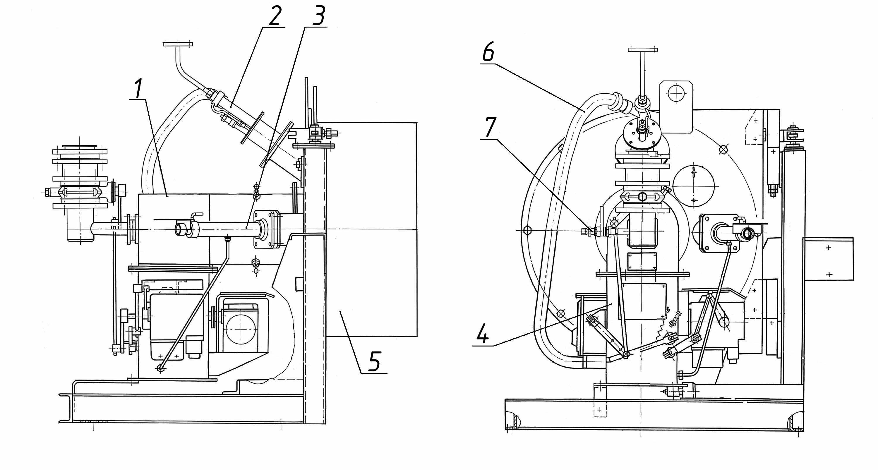
ДС-18561 20.07.020 Блок горелочный. |
|||||||
|
Поз. |
Обозначение |
Наименование |
Масса 1шт. кг |
Габариты, мм (длина, ширина, высота) |
Кол-во на изделие |
Примечание |
|
|
ДС-185 |
ДС-158 |
||||||
|
1. |
ДС-1856 20.06.500 |
Горелка |
35 |
647×337×298 |
1 |
- |
см. раскрытие |
|
2. |
ДС-1686 42.31.100-01 |
Горелка запальная |
5,3 |
690×250×176 |
1 |
- |
|
|
|
|
входит: |
|
|
|
|
|
|
|
ДС-185/311397023 |
Горелка запальная |
|
|
1 |
- |
|
|
3. |
ДС-1686 42.31.050 |
Тубус |
4,2 |
570×130×130 |
1 |
- |
|
|
4. |
ДС-18561 20.07.750 |
Узел регулирования |
44 |
590×560×379 |
1 |
- |
|
|
|
|
входит: |
|
|
|
|
|
|
|
ДС-185/421851125 |
Механизм МЭО |
|
|
2 |
- |
|
|
5. |
ДС-18561 20.07.030 |
Опора |
409,6 |
1222×1200×1145 |
1 |
- |
см. раскрытие |
|
6. |
ДС-185/143009538 |
Рукав |
1,3кг |
L=1,3 |
1 |
- |
|
|
7. |
ДС-185/373270013 |
Кран шаровой DN15 |
|
|
1 |
- |
|

Замена системы управления на АБЗ Bennighoven MBA 2000
Год: 2023

Асфальтный завод в городе Енисейск
Осуществлена модернизация перевод на 5 фракций.
Установлен агрегат целлюлозной добавки.
Год 2023

Асфальтный завод ДС-185 в городе Ухта.
Полное обновление абз с его сборкой на новой площадке. Поднята производительность до 60т/ч в летний период и 40т/ч в осенне/ весенний период. Установлены - полностью новая башня, агрегат питания, горелка 6.2мвт, агрегат целлюлозной добавки, минерального порошка, адгезионная добавка
Год 2023.

Силами компании ВесПро проведена капитальная реконтрукция АБЗ в г. Саратов. Нами была произведены замены: сушильного агрегата целиком, агрегат питания, система пылеочистки, блока грохота на 6 фракций с бункером горячих материалов.
Год 2024.

Проведены работы по замене грохота, бункера горячих материалов и весов на 1000кг.
Завод переведен на работу с шестью фракциями.
Год: 2024

Замена системы управления на АБЗ УДМ-120
Год: 2023

Замена системы управления на АБЗ Marini TopTower 2000
Год: 2023

Замена системы управления на АБЗ ДС-185
Год: 2023