|
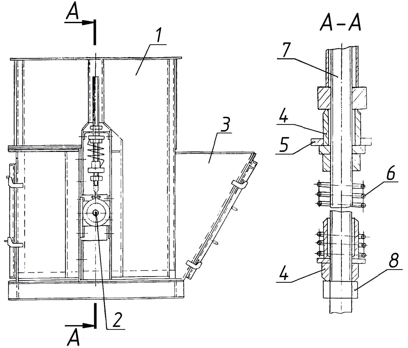
ДС-185 41.02.000 Башмак. |
|||||||
|
Поз. |
Обозначение |
Наименование |
Масса, 1шт., кг |
Габариты, мм (длина, ширина, высота) |
Кол-во на изделие |
Примечание |
|
|
ДС-185 |
ДС-158 |
||||||
|
1. |
ДС-185 41.02.010 |
Кожух |
160 |
1182×720×1540 |
1 |
- |
|
|
|
ДС117-2К 41.02.050 |
Кожух |
160 |
1182×720×1540 |
- |
1 |
|
|
2. |
ДС117-2К 41.02.010 |
Вал натяжной |
75 |
776ר445,4 |
1 |
1 |
см. раскрытие |
|
3. |
ДС117-2К 41.02.150 |
Лоток |
27,6 |
880×500×530 |
1 |
1 |
|
|
4. |
ДС117-2К 41.02.280 |
Гайка |
0,7 |
63ר80 |
4 |
4 |
Натяжное устройство |
|
5. |
ДС117-2К 41.02.002 |
Скоба |
1,4 |
132×80×60 |
2 |
2 |
|
|
6. |
Д597А 01.03.002 |
Пружина |
0,85 |
L=190 |
2 |
2 |
|
|
7. |
Н807000 |
Винт |
3 |
622ר36 |
2 |
2 |
|
|
8. |
ДС-185/1382110271 |
Гайка |
|
|
2 |
2 |
|
|
|
|
|
|
|
|
|
|

Замена системы управления на АБЗ Bennighoven MBA 2000
Год: 2023

Асфальтный завод в городе Енисейск
Осуществлена модернизация перевод на 5 фракций.
Установлен агрегат целлюлозной добавки.
Год 2023

Асфальтный завод ДС-185 в городе Ухта.
Полное обновление абз с его сборкой на новой площадке. Поднята производительность до 60т/ч в летний период и 40т/ч в осенне/ весенний период. Установлены - полностью новая башня, агрегат питания, горелка 6.2мвт, агрегат целлюлозной добавки, минерального порошка, адгезионная добавка
Год 2023.

Силами компании ВесПро проведена капитальная реконтрукция АБЗ в г. Саратов. Нами была произведены замены: сушильного агрегата целиком, агрегат питания, система пылеочистки, блока грохота на 6 фракций с бункером горячих материалов.
Год 2024.

Проведены работы по замене грохота, бункера горячих материалов и весов на 1000кг.
Завод переведен на работу с шестью фракциями.
Год: 2024

Замена системы управления на АБЗ УДМ-120
Год: 2023

Замена системы управления на АБЗ Marini TopTower 2000
Год: 2023

Замена системы управления на АБЗ ДС-185
Год: 2023